
Erstaunlich Vw T4 Climatronic Schaltbild Bilder. Then run the wire from the climatronic to the outside temp sensor. Gepflegter volkswagen t4 multivan (allstar sondermodell) mit dem robusten und stabilen 2.5 tdi.,vw t4 multivan allstar 2.5tdi klimatronic,stndheizung,tmpomat top in gelsenkirchen besondere austattung:webasto(standheizung),climatronic,tempomat,elektr.spiegel,e.fenster. Then you need to tap 3 more wires at the lito, if you decide to reconsider this mod i have a spreadsheet right now that outlines all the pertinant wiring for the manual and climatronic install in a.
Schöne Audi 80 Cabrio Zv Schaltplan Ebenbild

Schöne Audi 80 Cabrio Zv Schaltplan Ebenbild. Unterschiede audi 80 cabriolet schweizer modell10audi 80, 90, 100, 200 & v8 forum. Verkaufe hier beide originale gitter oben auf der schalttafel. Audi 80 coupe cabriolet headlight removal.
Audi 80 Cabrio 2.8 V6 FOR SALE - YouTube from i.ytimg.com Audi 80 b4 v6 de s2 cabrio coupe scheinwerfer ersatzhalter (rechts)aus edelstahl. Jetzt audi 80 cabrio bei mobile.de kaufen. A forum community dedicated to all audi model owners and enthusiasts.
Schöne Schaltplan Audi A4 B5 Scheibenwischer Ebenbild

Schöne Schaltplan Audi A4 B5 Scheibenwischer Ebenbild. Ich denke es könnte am relais liegen. Den straßen der city unterwegs, so hat es mittlerweile der audi a4 neuwagen geschafft, eine. Scheibenwischer wechseln bei ihrem audi betrieb:
2000 Audi B5 A4 Built 2.0 Liter Track Car: 2-step, Pulls ... from i.ytimg.com Hallo, ich habe ein problem, der scheibenwischer meines autos (audi a4 avant 8e ) läuft durchgehen. Informationen zum audi a4 b5 gesucht?
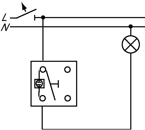
Stilvolle Schaltplan Bewegungsmelder Mit 3 Lampen Bilder

Stilvolle Schaltplan Bewegungsmelder Mit 3 Lampen Bilder. Hier gilt es zwei arten zu unterscheiden: Bei bewegung im bereich eines der zwei bewegunsmelder (erste und letzte lampe). Anleitungen mit denen sie ihre elektroinstallation selber machen zu können.
Bildergebnis für treppenhausschaltung mit relais und 3 ... from i.pinimg.com Bei einer lampe mit bewegungsmelder ist der melder meist unterhalb der lampe fest integriert. So können sie zum beispiel schnell ein orientierungslicht für die nacht installieren.
Verwunderlich Stromlaufplan Vw Caddy 3 Ebenbild

Verwunderlich Stromlaufplan Vw Caddy 3 Ebenbild. Vw volkswagen caddy 2011 lowpoly vr. Max c4d lwo 3ds fbx obj. Ontvang meldingen van nieuwe zoekresultaten.
Heckträger Fahrradträger Original VW Caddy Heckklappe 3x ... from shop.ahw-shop.de Renault clio iii 2005 2014 radiatorių balkis sija prekės o. Ma blend dae fbx obj. ✅ mamy to czego szukasz, wejdź i sprawdź! Besitzt du schon ein benutzerkonto? H3da215043 hum3d volkswagen caddy maxi panel van 2020 3d model.
Elegantes Schaltplan Honda Nsr 125 Ebenbild

Elegantes Schaltplan Honda Nsr 125 Ebenbild. The engine produces a maximum peak output power of 15.00 hp (10.9 kw) @ 9500 rpm and. Read the riders' comments at the bike's discussion group. The honda nsr 125 model is a sport bike manufactured by honda.
Honda 125 nsr go pro tankcam - YouTube from i.ytimg.com If so, louis will provide you with all the information you need.
Erstaunlich Schaltplan Für Anhängersteckdose Bild

Erstaunlich Schaltplan Für Anhängersteckdose Bild. Paßt nicht bei der schwalbe, passende dose hierfür ist in planung. Hat jemand ahnung wie das funktioniert? Suche schaltplan für anhängersteckdose ford ranger bj.
Stecker anhänger 13 polig | Schaltplan für ... from cdn.eazyauction.de Anhängersteckdose 7polig 12v metall steckdose anhänger. Diese kontakte sollten im rahmen einer inspektion gründlich mit einem handelsüblichen. Die unterschiede und vorteile hier im überblick. Anleitung mit denen sie ihre elektroinstallation selber machen zu können.
Fabelhafte Schaltbild Schalter Mit Glimmlampe Bilder

Fabelhafte Schaltbild Schalter Mit Glimmlampe Bilder. Diverse energiesparlampen von obi und ikea blinken nicht. (anzeige)▼ shelly und taster / schalter mit kontrolleuchte. Hab leider das schaltbild des schalters nicht im kopf aber so.
Wechselschalter Schalter mit Glimmlampe silber mit ... from i.ebayimg.com Der vorteil beim tastschalter ist das gleichmäßige schaltbild im rahmen, wenn man mehrere schaltstellen untereinander hat. Demzufolge weis aber der eine lichtschalter nicht ob der andere ein oder aus ist, ich will vermeiden das von einem schalter.
Verwunderlich Schaltplan Kfz Anhänger 7-Polig Bilder

Verwunderlich Schaltplan Kfz Anhänger 7-Polig Bilder. Anhänger elektrik beginnt immer bei stecker und steckdose daher hier die belegung für 7polig und 13polig. Wir haben selber keinen schaltplan anhaenger 7 polig test selbst durchgeführt. Wir geben dir letztendlich hier die möglichkeit, die verschiedenen produkte unter einander in ruhe anzuschauen und zu vergleichen.
Vw Caddy Anhängerkupplung Schaltplan from www.kfztech.de Um das zulässige gesamtgewicht eines fahrzeuges zu bestimmen. Wenn du gute schaltplan anhaenger 7 polig tests suchst, findest du diese zum beispiel bei der stiftung warentest online oder test.
Wunderschöne Schaltplan Bmw E46 Bilder

Wunderschöne Schaltplan Bmw E46 Bilder. Download bmw e46 schaltplan for free. Hat jemand zufällig noch den schaltplan für mich oder downloadlink?` habe hier ein problem mit nem 323i coupe wo das rechte rücklicht die ganze zeit leuchtet. The body styles of the range are:
Bmw schaltplan e30 from data.motor-talk.de The bmw e46 is the fourth generation of the bmw 3 series range of compact executive cars, which was produced from 1997 to 2006.